Y80 ELECTRIC WIRE ROPE - H4 DUTY CLASS
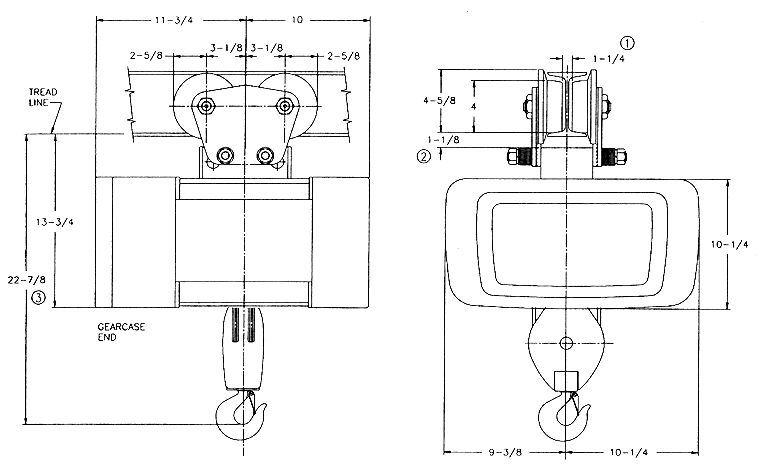
PLAIN TROLLEY - DOUBLE REEVED PARALLEL MOUNT 1 TON
Section 21 - 4 part double reeving
MINIMUM STANDARD RADIUS: 3'-6"
Model
No.
Lift
Ft.
Speed
FPM
Motor
HP
Rope
Dia.
Net Wt.
Lbs.
Estimated Wheel
Load** Lbs.
Y80P01-018D18-1 18 18 2 3/16 213 634
Y80P01-018D18-2 18 18/6 2/.66 3/16 248 643
Y80P01-018D28-1 18 28 2 3/16 238 645
Y80P01-018D28-2 18 28/9 2/.66 3/16 248 648
Y80P01-018D50-1 18 50 4 3/16 238 685
Y80P01-018D50-2 18 50/25* 4/2 3/16 248 688

Weights shown are for standard hoists listed. For approximate shipping weights, add 110 lbs. to the net weight given.
Consult us for weights of special hoists. Dimensions shown are in inches unless otherwise noted.
230/460 volt motors standard on single speed. Motor voltage is specific to application on two-speed.
Two-speed motors are 3 to 1 speed ratio except where indicated by an * which is 2 to 1.
When used on smallest I-beam size, beam must be free of all obstructions, such as clips, suspension bolts, and nuts.
Trolleys for wide flange beams contact us for Optional Equipment.
Trolley beam size range - beam flange width 3" min., 5" max; beam depth 6" min. standard, 5-1/8" - 7-1/4" with 1st
extension, 7-1/2" - 9-1/8" with 2nd extension. Contact us for option on section for extension pricing.
1) Occurs on smallest beam size only. On larger beams, it is increased by the difference in flange width.
2) Clearance shown is between lug and wheel tread.
3) Dimension increases 3" when hoist is equipped with screw type limit switch.
** Estimated wheel load per one (1) wheel. Includes live and dead load impacts.